凌控導讀:該設備用于化纖多次拉伸、卷曲前處理生產,主要由導絲架、八棍導絲機、熱水槽、第一牽伸機、水浴槽、第二牽伸機、蒸汽箱、第三牽伸機、疊絲機、張力架、卷曲機、卷曲側板電機、油泵電機、振動電機、循環水泵、振動檢測等設備構成。I/O控制規模為103點,其中開關量輸入點為61點,開關量輸出點為39點,模擬量輸入點為3點三菱Q 主要控制要求為:化纖絲的速度、牽伸比、蒸汽及水溫、相關的連鎖邏輯控制等三菱Q 本系統控制的關鍵是要保證導絲、一牽、二牽、三牽、卷曲五臺電機的速度同步。
1. 公司介紹
本項目的設備制造商為高安公司,該公司為規模較大的化纖機械生產廠,FA產品有著廣泛的應用,在行業中也有一定的知名度PLC 該設備用于5000噸纖維后處理生產線項目,其業主方為某日資化纖廠PLC
2. 設備說明
該設備用于化纖多次拉伸、卷曲前處理生產,主要由導絲架、八棍導絲機、熱水槽、第一牽伸機、水浴槽、第二牽伸機、蒸汽箱、第三牽伸機、疊絲機、張力架、卷曲機、卷曲側板電機、油泵電機、振動電機、循環水泵、振動檢測等設備構成PLC I/O控制規模為103點,其中開關量輸入點為61點,開關量輸出點為39點,模擬量輸入點為3點應用 主要控制要求為:化纖絲的速度、牽伸比、蒸汽及水溫、相關的連鎖邏輯控制等應用 本系統控制的關鍵是要保證導絲、一牽、二牽、三牽、卷曲五臺電機的速度同步應用
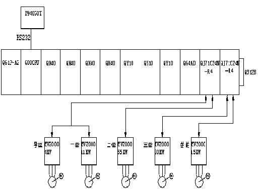
3.系統配置
如圖,系統采用三菱公司的Q系列PLC作為主控制器,傳動控制為艾默生公司的EV2000系列變頻器,人機界面為F940GOT。

系統主要配置如下:
● 主控制器:Q00CPU:速度和牽伸比給定,通過I/O模塊,檢測現場各機臺急停,限位等開關量及模擬量信號,完成連鎖控制及報警功能。
● 輸入模塊:QX40:完成現場的開關量控制采集,
● 輸出模塊:QY10:完成開關量輸出。
● 模塊量輸入:Q64AD:以完成現場的模擬量檢測。
● 串行通訊模塊:QJ71C24N-R4:構成變頻器通迅鏈路。
● 傳動驅動單元:艾默生公司的EV2000系列變頻器。
鑒于篇幅的原因,本文主要描述系統控制的關鍵設計和實現,即保證導絲、一牽、二牽、三牽、卷曲五臺電機的速度同步。客戶基于成本的因素,傳動驅動單元選用艾默生公司的EV2000系列變頻器,并要求主控制器和其構成一個以RS485為通訊介質的低速廉價通訊鏈路。盡管導絲、一牽、二牽、三牽、卷曲5臺變頻器采用共用直流母線運行方式,并安裝增量式編碼器構成轉速閉環以提高速度精度,卷曲機變頻器還外加張力傳感器以穩定控制拉伸張力,提高纖維質量,但是在設備起停過程特別是在運行過程中調整運行速度和牽伸比等工藝參數時低速通訊鏈路的實時性的問題就表現出來了。
在設計上,雖然一個通訊模塊可以組成485網絡,但因為通信量很大,我們必須實時發送電機的速度指令及起停信息,同時還要不斷讀取變頻器的工作電壓、電流、頻率等參數,所以如果采用一塊模塊的話,通信周期將增大,也就達不到實時的作用。所以我們選用兩塊485通訊模塊,即四個通訊口同時對一牽、二牽、三牽、卷曲四臺變頻進行通訊,而導絲和一牽共用一個通訊口,在下一周期通訊。考慮到通訊協議幀長度最長為18個字節,在19200Bit/s傳輸速率下,各速度指令響應的最大時差為20ms左右,當最大車速為200M/Min時,盡管導絲略有滯后,但在工藝上是可以接受的。該方案可以有效地解決速度指令的同步能力,實現開車起步和停車過程中按指令同步升降速以及運行中速度調整時五臺電機速度的同步和纖維拉伸張力的均勻。
4.調試情況和體會
在實際調試過程中,系統基本符合我們預想。但在通訊調試中,我們發現Q系列PLC在搭載多通訊模塊系統時,通訊的穩定性和PLC的掃描周期的長短有關。隨著功能的不斷增強,程序的不斷完善,掃描周期也隨之加大,當最大掃描周期大于25ms時,通訊開始有不穩定現象出現。
現象:我們用QJ71C24的專用通訊指令來接受通訊數據,當掃描周期大于25ms時,在同時通訊的4個口中,排在程序的最后一個口偶爾會有通訊錯誤,當接受標志位已跳變為ON,表示數據已接受完畢,但接受數據區中卻無數據。我們對同時通訊的四個口的程序次序顛倒過來發現情況依舊,錯誤只發生在次序排在最后的一個口。
分析原因:我們認為是通訊時序出現了問題,系統接受標志位的跳變和系統數據的傳遞不同步,即系統內部通訊標志建立時,通訊緩沖區的數據尚未來得及傳送完畢。故我們判斷掃描周期延長會影響系統通訊的時序。 解決辦法:精簡程序來縮短掃描周期或更換高速PLC 。但由于本系統程序量較大,最后為了保證系統的可靠性我們將CPU從Q00更換為Q02,提高了系統處理速度,把掃描周期降低至10ms以下,問題得以解決。
5.用戶的反饋
本系統已正常投產三個多月,目前系統運行非常穩定、可靠,技術指標完全達到了設計效果。